(1)Pantron品牌历史
Pantron品牌源自德国,如今成立历史已经超过35年,专业从事于自动化技术领域的传感器的生产和研发。作为德国家族式企业,已经成长为高性能的光栅专家。在德国,几乎每一台洗车机中都装有Pantron的防污光电传感器。
Pantron的产品以高性能而著称,例如其光系统始终用于常规光电屏障已达到极限的地方。这类产品在德国乃至全球的同类产品中,性能都是顶尖的存在。
(2)Pantron品牌现状
Pantron设备是国际成功的顶级产品,德国制造。高性能光栅系统是专为常规光栅已达到其极限的应用而开发的。由于其极高的抗污性和范围而出众,因此非常适合最困难的应用,因为从那以后一直只有折衷的解决方案。由于系统的高性能,即使在污染严重的情况下也可以确保巨大的渗透率。
碎屑,灰尘,面粉,油或脏水不再是障碍。因此,它们是木材和造纸工业,洗车场,散装材料检查,电梯,露天,食品工业等门控制的理想选择。
(3)Pantron产品经营范围
Pantron高性能光电传感器、Pantron安全光栅、Pantron紧凑型光栅、Pantron叉传感器、Pantron电源、Pantron饰品等
厂家规模:0-100人
国家:德国
工厂分:德国
3. 注意事项:
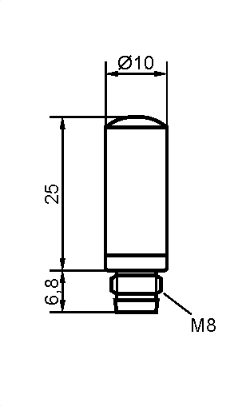
(1)圆形塑料外壳,10毫米
小设计
极耐脏
高渗透
调整容易
(2)PANTRON红外光电的发射器和接收器。适用于所有放大器系列(ISL除外)。每个通道需要一个发送器和一个接收器。
变送器有3种不同版本。
接收器带有内置的前置放大器和日光补偿。
非常短的圆形塑料外壳,用于微型结构。耐汽油,机油和许多溶剂。
4.选型问题:
波长
筑屋材料
防护等级
工作温度
贮存温度
振动
5.解决问题:
880 nm
聚酰胺纤维
IP 67
-25 °C ... +65 °C
(-13 °F ... +149 °F)
-40 °C ... +80 °C
(-40 °F ... +176 °F)
10...55 Hz, 1.5 mm
6. TSP传感器介绍
(1)波长: 880 nm
(2)开启角度/发射功率标准: 10° / 40 mWsr
(3)开启角度/发射功率HP: 20° / 70 mWsr
(4)开角/发射功率ITA : 6° / 350 mWsr
(5)连接 :"2芯PVC电缆+3芯圆形插头M8"
(6)筑屋材料: 聚酰胺纤维
(7)防护等级: IP 67
(8)工作温度: -25 °C ... +65 °C (-13 °F ... +149 °F)
(9)贮存温度 -40 °C ... +80 °C (-40 °F ... +176 °F)
(10)振动 10...55 Hz, 1.5 mm
(11)重量 30 g
7. 订购信息
(1)TSP变送器,5 m电缆: ITL-TSP-5 ITH-TSP-5 ITA-TSP-5
(2)TSP变送器,15 m电缆: ITL-TSP-15 ITH-TSP-15 ITA-TSP-15
(3)变送器TSP,3针圆形插头M8: ITL-TSP-B3 ITH-TSP-B3 ITA-TSP-B3
(4)TSP接收器,5 m电缆: IRL-TSP-5
(5)TSP接收器,15 m电缆: IR-P10-15
(6)接收器TSP,3针圆形插头M8: IR-P10-3QD
注:其他电缆长度可根据要求提供。
8.相关图片


